ТРМ136, ТРМ 136, ТРМ-136, TPM136, TPM 136, TPM-136,
ТРМ136 — измеритель-регулятор шестиканальный
Код товара: 68837-
Назначение измерителя-регулятора шестиканального ТРМ136:
Измеритель-регулятор универсальный шестиканальный ТРМ136 предназначен для построения автоматических систем контроля и регулирования производственными технологическими процессами в металлообрабатывающей, пищевой, химической, деревообрабатывающей, в производстве строительных материалов и в других областях промышленности.
ТРМ136 предназначен для измерения и регулирования температуры, давления и других физических величин. Он может управлять до 6 исполнительными механизмами, вести регистрацию измерений на ЭВМ.
ТРМ136 является аналогом прибора ТРМ138.
Варианты исполнения измерителя-регулятора шестиканального ТРМ136:

При необходимости прибор ТРМ136 может комплектоваться выходными устройствами различного типа. В этом случае требуемые устройства должны быть перечислены при заказе с указанием количества каждого типа.
Функциональные возможности измерителя-регулятора шестиканального ТРМ136:
- Шесть универсальных входов для подключения от 1 до 6 датчиков разного типа в любых комбинациях;
- Вычисление дополнительных величин: средних значений от 2 до 6 измеренных величин, разностей измеренных величин, скорости изменения измеряемой величины;
- До шести каналов регулирования или регистрации температуры, давления или других измеренных или вычисленных величин: регулирование по двухпозиционному закону (для каналов с ВУ типа Р,К,С или Т), регистрация на аналоговом выходе (ток 4...20 мА или напряжение 0...10В);
- От 1 до 6 встроенных выходных устройств различных типов в выбранной пользователем комбинации;
- Режим ручного управления выходными устройствами;
- Конфигурирование функциональной схемы и установка параметров нопками на лицевой панели прибора;
- Четыре варианта стандартных конфигураций схемы прибора;
- Встроенный интерфейс RS-485 (протокол ОВЕН, Modbus ASCII/RTU);
- Формирование аварийного сигнала при обнаружении неисправности первичных преобразователей с отображением его причины на цифровом индикаторе.
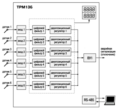
Функциональная схема измерителя-регулятора шестиканального ТРМ136:

Рис.1. Схема ТРМ136
Схемы подключения измерителя-регулятора шестиканального ТРМ136:

Рис.2. Схема подключения
Стандартные конфигурации измерителя-регулятора шестиканального ТРМ136:

Рис.3. Функциональная схема ТРМ136 с шестью входами для подключения датчиков, 6-ю двухпозиционными регуляторами, формирующими сигнал «Авария», и одним выходным устройством

Рис.4. Функциональная схема ТРМ136 с тремя входами для подключения датчиков, 6-ю двухпозиционными регуляторами, формирующими сигнал управления, и 6-ю выходными устройствами

Рис.5. Функциональная схема ТРМ136 с шестью входами для подключения датчиков, 6-ю двухпозиционными регуляторами, формирующими сигнал управления, и 6-ю выходными устройствами

Рис.6. Функциональная схема ТРМ136 с одним входом для подключения датчика, 6-ю двухпозиционными регуляторами, формирующими сигнал управления и 6-ю выходными устройствами
-
Технические характеристики измерителя-регулятора шестиканального ТРМ136:
Параметр Значение Диапазон напряжений питания от 90 до 264 В переменного (от 47 до 63 Гц) тока Потребляемая мощность, ВА, не более 18 Количество измерительных входов в приборе 6 Время опроса одного канала, с, не более 0,6 Напряжение встроенного источника питания (24±3) В постоянного тока (максимум 150 мА) Интерфейс связи с компьютером RS-485 Скорость передачи данных по протоколу, кбит/с: ОВЕН, Modbus-RTU, Modbus-ASCII 2,4; 4,8; 9,6; 14,4; 19,2; 28,8; 38,4; 57,6; 115,2 Габаритные размеры корпуса Щ7, мм 144×169×50,5 Условия эксплуатации закрытые взрывобезопасные помещения без агрессивных паров и газов;
температура окружающего воздуха от +1 до +50 °С;
верхний предел относительной влажности воздуха 80 % при +25 °С и более низких температурах без конденсации влаги;
атмосферное давление от 86 до 106,7 кПаГабаритные размеры корпуса Щ7, мм 144×169×50,5 Масса прибора, кг, не более 1,0 Наименование ВУ (обозначение типа) Технические характеристики Значение Выходные устройства Реле электромагнитное (Р) Максимальный ток нагрузки 4 А Максимальное напряжение нагрузки
переменного тока, не менее250 В 50 Гц и cos j >0,4 Максимальное напряжение нагрузки постоянного тока, не менее 30 В Оптопара транзисторная n-p-n-типа (К)
Максимальный ток нагрузки, не менее 400 мА Максимальное напряжение, не менее 60 В постоянного тока Оптопара симисторная (С) В режиме управления внешним симистором: ток (при длительности импульса не более 2 мс и частоте (50 ±1) Гц), не менее 400 мА действующее напряжение, не менее 250 В, 50 Гц В режиме коммутации нагрузки: ток нагрузки, не менее 40 мА действующее напряжение, не менее 250 В, 50 Гц Выход для управления внешним твердотельным реле (Т) Выходное напряжение холостого хода (6 ±0,5) В постоянного тока Выходное напряжение на нагрузке 250 Ом, не менее от 3,3 до 4,9 В постоянного тока Ток короткого замыкания от 50 до 72 мА ЦАП «параметр-ток» (И) Выходной сигнал постоянного тока от 4 до 20 мА Сопротивление нагрузки от 0 до 1300 Ом Номинальное сопротивление нагрузки 700 Ом Напряжение питания ЦАП от 10 до 36 В Номинальное напряжение питания ЦАП (24,0 ±3,0) В ЦАП «параметр-напряжение» (У) Выходной сигнал постоянного напряжения от 0 до 10 В Сопротивление нагрузки, не менее 5 кОм Напряжение питания ЦАП от 15 до 36 В Номинальное напряжение питания ЦАП (24,0 ±3,0) В Условное обозначение НХС реобразователя или сигнала Диапазон измерений Значение единицы младшего разряда* Пределы допускаемой основной приведенной погрешности, % Входные первичные преобразователи Термометры сопротивления по ГОСТ 6651-2009 или термопреобразователи сопротивления по ГОСТ Р 6651* Cu 50(a =0,00426 °С-1) от –50 до 200 °С 0,1 °С ±0,25 50 М(a =0,00428 °С-1) от –190 до 200 °С 0,1 °С Pt 50(a =0,00385 °С-1) от –200 до 750 °С 0,1 °С 50 П (a =0,00391 °С-1) от –200 до 750 °С 0,1 °С Cu 100(a =0,00426 °С-1) от –50 до 200 °С 0,1 °С 100 М(a =0,00428 °С-1) от –190 до 200 °С 0,1 °С Pt 100 (a =0,00385 °С-1) от –200 до 750 °С 0,1 °С 100 П (a =0,00391 °С-1) от –200 до 750 °С 0,1 °С Термоэлектрические преобразователи по ГОСТ Р 8.585 TХК (L) от –200 до 800 °С 0,1 °С ±0,5
±0,25**TЖК (J) от –200 до 1200 °С 1 °С TНН (N) от –200 до 1300 °С 1 °С TХА (К) от –200 до 1300 °С 1 °С TПП (S) от 0 до 1750 °С 1 °С TПП (R) от 0 до 1750 °С 1 °С TВР (А-1) от 0 до 2500 °С 1 °С Унифицированные сигналы постоянного напряжения и тока по ГОСТ 26.011 Ток от 0 до 5 мА от 0 до 100 % 0,1 % ±0,25 Ток от 0 до 20 мА от 0 до 100 % 0,1 % Ток от 4 до 20 мА от 0 до 100 % 0,1 % Напряжение от 0 до1 В от 0 до 100 % 0,1 % Сигнал постоянного напряжения от –50,0 до 50 мВ от 0 до100 % 0,1 % ±0,25 Примечание: Допускается применение нестандартизованного медного термометра сопротивления с R0 = 53 Ом (a = 0,00426 °С-1) и диапазоном измерений от минус 50 до плюс 200 °С.
* Приборы, работающие с термопреобразователями сопротивления с НСХ по ГОСТ 6651, предназначены для поставки на экспорт.
** с отключенной схемой КХС -
Комплект поставки ТРМ136
№ Наименование Количество 1 Измеритель-регулятор шестиканальный ТРМ136 в выбранном исполнении 1 2 Комплект крепежных элементов 1 3 Паспорт и гарантийный талон 1 4 Руководство по эксплуатации 1 5 Методика поверки (по требованию заказчика) 1 -
Модификации ТРМ136
-
Файлы для ТРМ136
Файлы для ТРМ136
Рекомендуем посмотреть также
-
2ТРМ1-х.У2.хх, двухканальный регулятор с универсальным входом
Выбрать исполнениев наличии145 вариантов исполнения -
ТРМ151, универсальный двухканальный программный ПИД-регулятор
Выбрать исполнение230 вариантов исполнения -
ТРМ12-х.У2.хх, ПИД-регулятор для управления задвижками и трехходовыми клапанами
Выбрать исполнение96 вариантов исполнения








